【#会计职称考试# #2024年湖北恩施州初级会计职称证书领取时间:自公告发布之日起#】©无忧考网小编根据恩施州会计局发布”恩施州2024年度会计专业初级资格证书领取公告“得知,2024年湖北恩施州初级会计职称证书领取时间为自公告发布之日起,详情如下:
2024年度初级会计资格考生:

2024年度初级会计资格考生:
根据有关文件规定和要求,现就我州2024年度会计专业初级资格证书领取有关事项通知如下:
一、领证时间及地点。参加2024年度全国会计专业技术初级资格考试成绩合格的考生自公告发布之日起到考试报名时所选择的报名点会计管理机构领取证书(领取地址及联系电话附后)。
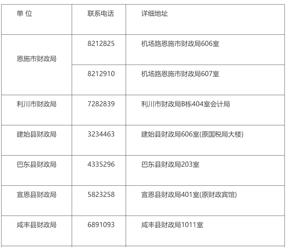
忘记报名点而无法确认证书领取地点的考生,可登录“全国会计资格评价网”进入“考试合格信息查询”模块,查询证书管理号。管理号的第12-15位数字即为报名点会计管理机构代码。各县市会计管理机构代码如下:

二、领证凭证。考生本人持身份证原件领取;代领人须持考生本人的身份证及代领人的身份证原件与复印件领取。
三、其它事项。
1.考试合格考生须登录全国会计人员统一服务平台(网址:https://ausm.mof.gov.cn)采集完善会计信息。
2.2024年度考试成绩合格人员视同完成当年继续教育的学分登记,已由省会计考办通过会计人员管理系统集中办理。
恩施州会计管理机构办公地址及咨询电话


恩施州会计局
2024年10月12日