【#造价工程师考试# #2024年山西二级造价工程师职业资格考试工作通知#】©无忧考网从山西省住房和城乡建设厅获悉,《2024年山西二级造价工程师职业资格考试工作通知》现已公布,报名时间:7月26日-8月8日,考试时间:8月31日,更多事宜请参考阅读《考务通知》,官方公告原文如下:

现将2024年度山西省二级造价工程师职业资格考试事宜公告如下:
一、考试大纲
使用住房和城乡建设部、交通运输部、水利部组织制定,人力资源和社会保障部审定的2019年版《全国二级造价工程师职业资格考试大纲》。
二、报考条件
按照《造价工程师职业资格制度规定》、《造价工程师职业资格考试实施办法》及《人力资源社会保障部关于降低或取消部分准入类职业资格考试工作年限要求有关事项的通知》要求报考。
凡遵守中华人民共和国宪法、法律、法规,具有良好的业务素质和道德品行,具备下列条件之一者,可以申请参加相应级别二级造价工程师职业资格考试:
(一)考全科
1.具有工程造价专业大学专科(或高等职业教育)学历,从事工程造价、工程管理业务工作满1年;
具有土木建筑、水利、装备制造、交通运输、电子信息、财经商贸大类大学专科(或高等职业教育)学历,从事工程造价、工程管理业务工作满2年。
2.具有工程造价专业大学本科及以上学历或学位;
具有工学、管理学、经济学门类大学本科及以上学历或学位,从事工程造价、工程管理业务工作满1年。
3.具有其他专业相应学历或学位的人员,从事工程造价、工程管理业务工作年限相应增加1年。
(二)免考一科
符合上述条件,具有以下条件之一的,可以免考基础科目:
1.已取得全国建设工程造价员资格证书;
2.已取得公路工程造价人员资格证书(乙级);
3.具有经专业教育评估(认证)的工程管理、工程造价专业学士学位的大学本科毕业生,且毕业时间在评估有效期内的。
对照住房和城乡建设部公布的《关于公布高等学校建筑学、城乡规划、土木工程类、给排水科学与工程、建筑环境与能源应用工程、工程管理、工程造价专业评估(认证)结论的通告》(土建专业评估通告〔2023〕第3号)有关工程管理、工程造价部分内容(附件)。
三、时间安排
(一)报名时间

(二)考试时间

四、收费标准
按照《国家发展改革委 财政部关于改革全国性职业资格考试收费标准管理方式的通知》及《山西省发展和改革委员会 山西省财政厅关于改革全省专业技术人员职业资格考试收费标准管理方式的通知》规定,每人每科85元。
五、成绩管理
考试成绩实行滚动管理,应当在连续2个考试年度内通过全部应试科目。
六、参考程序及有关提示

(一)请认真阅读报考公告和《山西省二级造价工程师职业资格考试综合服务平台使用指南》,真实、完整、准确填写报考信息。
(二)按照专业和属地原则选择“报名区域”和“审核点”。属地原则优先级排序为:所属企业注册地、项目所在地、失业人员户籍地。请客观选择,避免因调整延误时间。
(三)考试区域根据报考总人数和山西省各考区考点服务能力统筹编排,以准考证为准。
(四)工作经历按满周年计算,截止报名前。全日制学历在校期间和后修学历脱产学习期间不计入工作经历。
(五)证明材料。
1.《报名表》需单位承诺,并加盖公章;考生本人签名、按手印。目前无业的,提交最后供职单位解聘证明,解聘时间要与工作经历填写的截止时限相一致/相近。未按要求提交,通过考试的,不予制发职业资格证书。
2. 学历专业,提交学信网www.chsi.com.cn证明。2002年以前毕业的,提交《中国高等教育学历认证报告》;2002年(含本年度)以后毕业的,提交《教育部学籍在线验证报告》/《教育部学历证书电子注册备案表》。
3.港澳台地区/国外高等学校学历学位的,提交教育部留学服务中心颁发的《国外学历学位认证书》。
4.党校学历学位,毕业院校可查询的,提交查询页面截图;无法查询的,提交党校开具的证明。
5.报考“免一科”级别,提交相应证明。
(六)资格审核。
1.平台对接相关部门核查学历专业,计算工作履历。
2.需要现场审核的,资格审核人员可要求报考人员补充提交相关证明材料。
(七)缴纳费用。资格审核通过人员,请及时在线缴费;未缴费的,视为自动放弃。
(八)参加考试。
1.务必按照准考证上的各项要求准时参考;否则视为自动放弃,已缴费用不予退还。
2.应试时需携带《准考证》和有效身份证明原件,并在《考场座次表》上签名。
3.本次考试考试机已配置计算器,应试时仅需携带黑色墨水笔或签字笔。
4.严禁将各类手表和各种电子、通信、音视频采集和存储设备(如各类手机、耳机、手环、平板电脑等)带至参考机位。
5.开考5分钟后严禁入场;2小时后方可交卷、离场,未按规定执行,后果自负。
6.应试期间,务必按照系统提示操作,不得要求监考人员解释试题。如出现考试机黑屏、断网、断电、无法登录考试系统、信息有误、运行故障等异常情况,第一时间举手示意,由监考/技术人员处理。考试结束后,考试管理机构不再受理上述问题。
7.应试期间,严禁擅自关闭重启考试机/关闭电源等操作,不得擅自使用/更换其他考试机。异常情况处置期间,须听从监考人员的安排与引导,安静等待。未按要求操作,后果自负。
(九)查询成绩。9月下旬,山西省二级造价工程师职业资格考试综合服务平台 https://sxzj.ks365.net/ 公布考试合格标准,开通成绩查询功能。
开通成绩查询功能后,9月30日24:00前,参考人员如有异议,可在线申请复核。平台将于10月10日前反馈复核结果。
(十)领取证书。登录山西政务服务平台-“我的证照”专栏下载打印资格证书。
七、报考要求
(一)为确保考试组织严谨,公平公正,本项考试严格实施属地管理,请在考试报名、资格审核时遵照执行。
(二)报考条件资格审核将依据考前审核、考中监管、考后监督相结合原则强化监督检查力度。
(三)报考人员应当真实、完整、准确、规范、慎重填报报名信息,未按照要求填报,造成不良后果的,责任自负。
(四)报考人员不符合报考条件,提供虚假证明材料报名或者以其他不正当手段取得成绩证明或者资格证书的,查实后做如下处理:报名或者考试期间发现的,取消报考资格;考试成绩合格的,宣布成绩无效;已取得资格证书的,宣布证书无效并撤回。存在前述情形,已缴费用的,不予退还;违法违纪违规行为记入职业资格考试诚信档案。
(五)报考人员应当严格遵守法律法规和有关规定,有违纪违规行为的,按照《专业技术人员资格考试违纪违规行为处理规定》处理;涉嫌违法犯罪的(包括但不限于伪造、变造、买卖_国家机关公文、证件、印章,伪造公司、企业、事业单位、人民团体印章等),移送司法机关;中国共产党党员违法违纪的,依据《中国共产党纪律处分条例》移送处理。
(六)组织作弊、实施作弊、代替他人或者让他人代替自己参加考试的,移送司法机关,依法追究责任;违法行为记入职业资格考试诚信档案。
(七)报考人员所在填报单位存在不诚信行为的,记入职业资格考试诚信档案。
(八)上述记入职业资格诚信档案事项,纳入全国信用信息共享平台,实施联合惩戒。
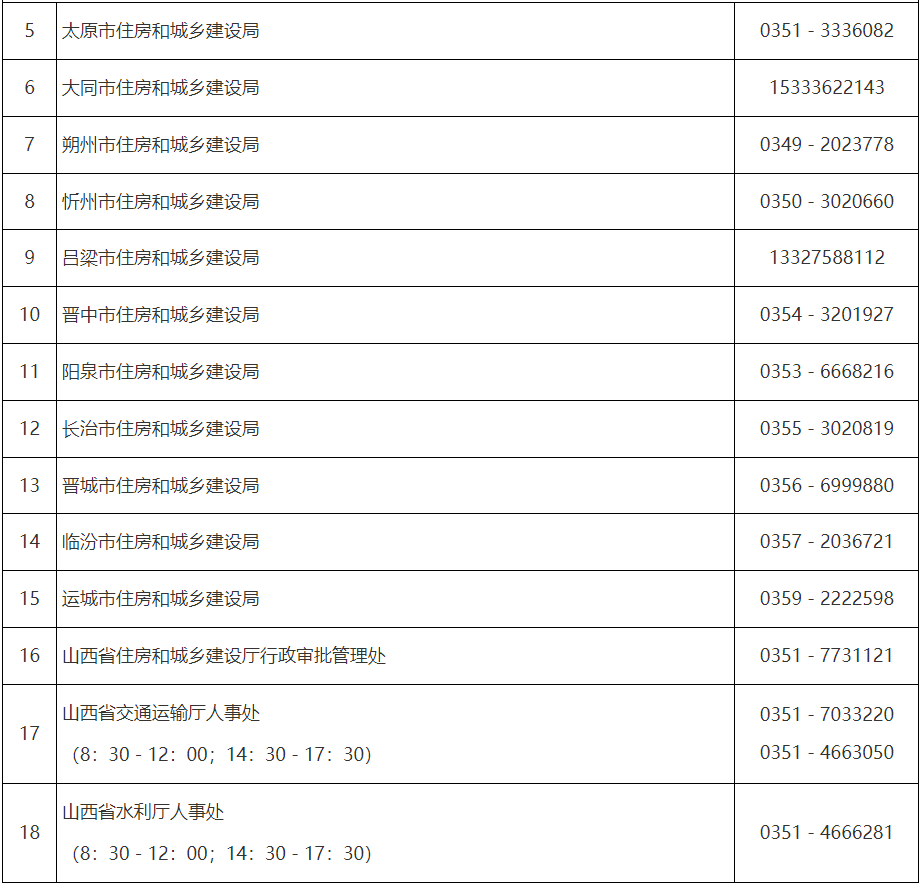
八、咨询服务


附件:高等学校工程管理、工程造价专业评估(认证)有关内容.docx