首页
>
高考
>
最新信息
>
湖南高考
>
2023年7月1日湖南省军校招生体格检查结果公示
2023年7月1日湖南省军校招生体格检查结果公示
时间:2023-07-03 11:36:00 来源:湖南招生考试信息港 [字体:
小
中
大
]
【#
高考
# #
2023年7月1日湖南省军校招生体格检查结果公示
#】
®
无
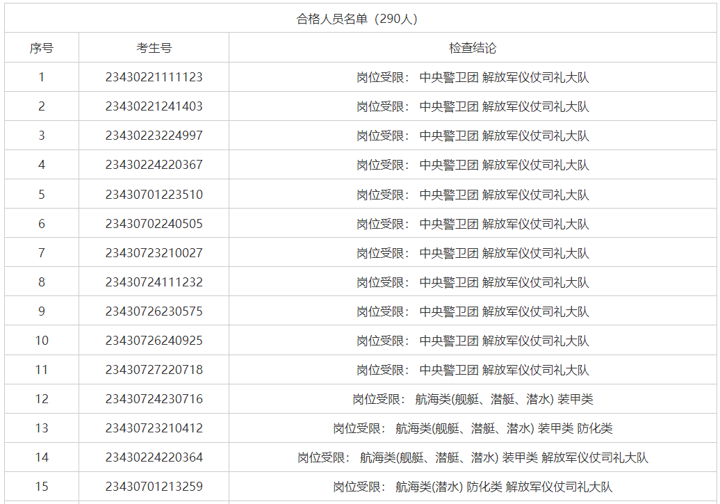
忧考网从湖南招生考试信息港了解到,2023年7月1日湖南省军校招生体格检查结果公示,详细内容如下:
点击进入:(
查看完整版
)
=高考试题推荐=
2025年湖南普通高中学业水平选择性考试政治真题及答案
2025年湖南普通高中学业水平选择性考试生物真题及答案
2025年湖南普通高中学业水平选择性考试历史真题及答案
2025年湖南普通高中学业水平选择性考试地理真题及答案
2025年湖南普通高中学业水平选择性考试物理真题及答案
2025年湖南高考语文试题及答案
查看高考全部真题 >>
=高考文档推荐=
湖南省2026年普通高校招生书法类专业统一考试温馨提示
湖南省2026年普通高校招生美术类专业统一考试时间:12月6日-12月7日
2026年湖南普通高等学校戏曲类本科专业招生省际联考时间安排
湖南省2026年普通高校对口招生服装类专业全省统一考试温馨提示
2026年湖南省普通高等学校招生艺术类专业全省统一考试考生、家长的一封信
2026年湖南省普通高等学校招生考试报名办法解读
查看高考全部文档 >>
2023年7月1日湖南省军校招生体格检查.docx
立即下载Word高清文档,方便收藏和打印(612字)
编辑推荐:
下载Word文档
高考湖南热点文章排行榜
2025年湖南高考准考证打印网站入口:https:
2024年湖南普通高中学业水平选择性考试历史真题及
2024年湖南普通高中学业水平选择性考试生物真题及
2024年湖南普通高中学业水平选择性考试政治真题及
2025年湖南高考成绩查询网站、查分入口:湖南省教
2025年湖南高考考点考场查询入口网址:https
2025年湖南长沙高考成绩查询时间、方式及查分入口
2025年湖南高考志愿填报时间、流程及系统入口(6