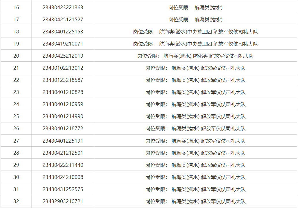
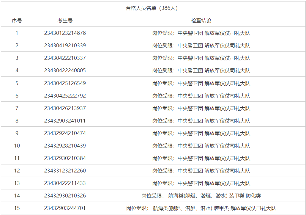
【#高考# #2023年6月30日湖南省军校招生体格检查结果公示#】©无忧考网从湖南招生考试信息港了解到,2023年6月30日湖南省军校招生体格检查结果公示已发布,详细内容如下:
点击进入:(查看完整版)